2025年高考已落下帷幕
23日起
各地高考成績陸續公布
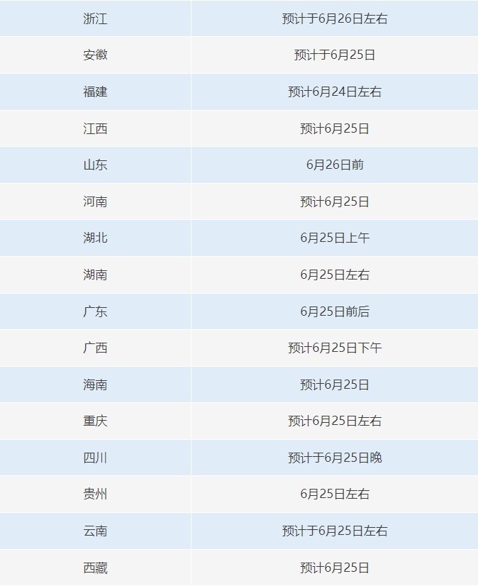
31個省份高考查分時間



臨近查分
不少不法分子
會利用考生和家長的急切心理
精心設計多種騙局
警方提示:以下陷阱易中招
廣大考生和家長一定要注意防范
騙局一:以“名校培訓”“預先錄取”為誘餌實施詐騙
近期,有詐騙人員利用“名校培訓”“預先錄取”等為誘餌實施詐騙。江蘇昆山市民張女士就收到QQ彈出的好友申請,點進去一看發現是自己“女兒”的新號。網絡對面的“女兒”稱自己要參加一個所謂的“名校專家”培訓班,正在試聽,感覺效果很好,需要繳納“保證金”鎖定名額。

“女兒”發來了負責報名的所謂“教務處主任”的QQ號,張女士添加后,“教務處主任”提供了預錄取通知書和收款賬戶,表示報名參加需要先繳納3萬元的費用,張女士便嘗試進行轉賬,與學校老師電話核實,發現對方是騙子,立即報警。
民警提醒,切不可輕易向陌生賬戶轉賬匯款,一旦發現可疑情況或被騙,請立即撥打110報警。
騙局二:偽造虛假查分網站
詐騙分子會通過網絡或者短信發送虛假查分鏈接,誘導考生和家長點擊,要求填寫身份證號、銀行卡號、驗證碼等信息,進而實施詐騙。
民警提醒,查分時應認準教育部門認定的官方查詢方式,切勿點擊來歷不明的鏈接。廣大考生不要在社交媒體隨意曬出包含準考證號、身份證號等信息的照片,防止個人信息泄露。
騙局三:謊稱有高校內部指標、偽造錄取通知書
不法分子謊稱有高校內部指標、計劃外指標,繳納費用即可獲得。還有的詐騙人員會冒充高校招生辦人員給考生寄送或發送偽造的錄取通知書,要求將學雜費打入指定的銀行賬戶以騙取錢財。

民警提醒,高校招生嚴格按照政策執行,不存在所謂的內部渠道,也不會產生額外附加費用。廣大考生和家長在收到錄取通知書時,一定要通過學校官網核實真偽,切勿輕易轉賬匯款。
騙局四:“內部渠道提前查分、改分”
在各類重要考試結束到出成績期間,各類查改分騙局也屢見不鮮。鹽城的小張就在參加完考試后,落入了騙子的圈套。
受害人突然收到一條聲稱“內部渠道提前查分”的短信,便添加了短信中的QQ號碼,向對方咨詢提前查分事宜。

很快,對方告知小張本次考試未能通過,并表示若想及格,繳納3600元就可以系統后臺改分。毫無防備的小張仿佛抓住了救命稻草,隨即轉賬支付。結果對方讓小張繼續轉賬10000元的時候,小張反應過來并報警。
民警提醒,招生考試的成績發布流程往往有其規范,不要輕信他人的“小道消息”。各類考試不存在提前查分、違規改分的操作。廣大考生務必提高警惕,切勿輕信此類信息,一旦發現可疑情況,應立即向公安機關報案。
騙局五:假借高考填報志愿咨詢機構的身份進行詐騙
還有些不法分子打上高考招錄和考生填報志愿的主意,設下電信網絡詐騙陷阱,就等著考生和家長上鉤。
比如填報高考志愿前,詐騙分子會盯上考生和家長迷信志愿填報咨詢機構的心理,假借高考填報志愿咨詢機構的身份進行詐騙。考生和家長一定要按照學校的通知前往填報地點,對于社會舉辦的收費性質的志愿填報咨詢服務活動要提高警惕,所有的高考政策及信息,一定要以官方公布為準。
騙局六:偽裝跨國留學中介公司騙取中介費用
高考后有不少考生選擇出國留學,詐騙分子也會利用考生和家長求學心切的心理實施詐騙。他們會通過虛假公司注冊信息偽裝成跨國留學中介公司,騙取中介費用。
如果考生選擇留學機構,要選擇規模較大、證照齊全、市場信譽好、經營狀況佳的留學中介。在繳納中介費用時,一定要謹慎看清合同,不要被機構所謂的“優惠”“折扣”沖昏頭腦。
考生和家長
一定要警惕涉考騙局
不要輕信非官方渠道發布的不實信息
謹防上當受騙
監制丨陸毅制片人丨文雅策劃丨豐樹琪編輯丨翟子昊審校丨左中明
版權聲明:凡注明“來源:中國西藏網”或“中國西藏網文”的所有作品,版權歸高原(北京)文化傳播有限公司。任何媒體轉載、摘編、引用,須注明來源中國西藏網和署著作者名,否則將追究相關法律責任。